
Product List
Main Products
The Company has long been devoted to the R&D, production and marketing of ship launching air bag, air block fender, and polyurethane boat fender.Our products are made of quality materials by special process against blast.
Vote
-
Products
Current page£ºHome
- Gu Te Ship - Airbag -
Lifting, loading & floating air bag for ship launching
- Name: Lifting, loading & floating air bag for ship launching
- No.: 234311-730
- Model: GT-3--GT-6
- Price: 0$ Wholesale prices£º0$
- Update Time: 2009.07.24
- Manufacturer: Qingdao Gu Te Ship Supplies Co., Ltd.
- Views:
Product details
Our air bag for ship up to or down to launching way overcomes the disadvantage of restriction to the fixed launching way in ship-building and has the advantages of low cost, flexible, fail-safe, and good comprehensive economic benefits. It has been widely used in launching of various ships, raising a wreck£¬moving the heavy objects, etc.

Structural diagram of the bag body
1-End ironwork
2-Cylindrical bag body thermometer
3-Cone-shaped bag body
D-Airbag diameter
L-Airbag's effective length
Loa-Total length of airbag
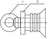
Pipe fitting at the inflation end
1-End ironworks
2-Three-way connecting tube
3-Pressure gauge
4-Valve
5-Hose joint
Pull ring at the sealing end
1-Pull ring
2-End ironworks


